文档中心 > 发票平台

常见问题

更新时间:2019/01/17 访问次数:78257

文档目录

1.发票后台如何使用

      1.1 使用三方开票工具的商家操作手册

      1.2 使用阿里发票平台官方工具的商家操作手册

2. 天猫发票赔付规则相关问题

3. 受赔付订单申请如何处理

4. 如何录入发票

5. 如何合单开票

6. 开票规则相关问题

7 开票失败了如何处理(使用官方工具的商家需要关注)

 

1. 发票后台如何使用

1.1使用三方开票工具的商家操作手册

     1)Q:首次天猫发票后台应该如何操作?

         A:请参考文档//open.taobao.com/doc.htm?docId=109001&docType=1  了解基本功能模块和对应的设置

 

     1.2使用阿里发票平台官方工具的商家操作手册

     1)  Q: 首次天猫发票后台应该如何操作?

            A:请参考文档//open.taobao.com/doc.htm?docId=109002&docType=1  了解基本功能模块和对应的设置

     2) Q:新版天猫后台和老的阿里发票平台后台有什么区别,现在要使用哪个平台开票

            A: 天猫发票后台是天猫商家进行发票管理的平台,已经升级新版后台的商家统一使用该后台处理店铺的发票申请,其他渠道的订单开票需要使用老后台

2. 天猫发票赔付规则相关问题

1)Q:天猫发票管理规范是什么

     A:请查看文档了解最新发票规范 https://rule.tmall.com/tdetail-8555.htm?spm=a219a.7386653.0.0.52ed669aTQrotK&tag=self

2)Q:超时开票需要赔付多少钱?

     A:若商家未按时寄出发票(或电子发票未按时线上回传),则商家需以发放天猫积分的方式向消费者进行赔付。发放天猫积分数量(个)=商品实际成交金额(元)*10(个/元),最高不超过30000个积分。简单来说,就是订单金额的10%。

3)Q:有哪些类目在天猫发票管理规范的要求范围内?新规则什么时候上线?

    A:具体类目见《天猫发票管理规范》:https://rule.tmall.com/tdetail-8555.htm?spm=a2177.7731966.0.0.7bbec32fCczVKL&tag=self新版发票管理后台及新规则上线时间:大家电、手机类目为2018年9月3日,规则内其他类目及商家从9月20日起分批上线,具体以通知为准。

4)Q:如果未按时开发票,赔付之后还要开发票吗?

     A:超时赔付的触发是针对卖家开票超时的处罚。 如果卖家不开票,买家可能发起投诉。若判定商家拒绝开票的投诉成立,将对商家扣分处理:https://helpcenter.tmall.com/learn/knowledge?version=old&id=4921271&referer=null 违背承诺的规则与实施细则
https://rule.tmall.com/tdetail-364.htm?spm=a225r.8199751.0.0.4731443d83DYlu&tag=self

5)Q:拒绝开票申请了,还会要求赔付吗?

    A:拒绝开票申请,可以结束赔付流程,倒计时会停止,不会触发赔付。但是拒绝之前请与买家做好协商,避免投诉

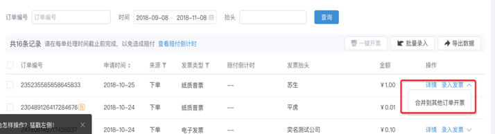
6)Q:怎么看哪些申请即将被赔付?如何避免赔付?

A:第一步:优先完结下图所示的“赔付倒计时”列表任务。该列表内均为已经开始倒计时的任务。第二步:其次完结“待录入开票”“待处理-受赔付约束”列表任务。这些列表存在新后台发票补寄的申请任务,需要点击详情查看赔付倒计时;其他赔付倒计时显示”--“的代表因为买家未确认收货等原因,还没有开始计时。其他注意事项:使用阿里发票平台开票的用户关注开票中、开票失败列表任务,及时处理

  3. 受赔付约束订单申请如何处理

1)Q:受赔付约束的订单是否必须开具,票量不够怎么办?

     A:不是每个申请都必须开具,如果票量不足或者其他原因无法开具发票,可以与买家协商后拒绝开票申请。请勿直接拒绝,以免造成买家投诉。

2)Q:登录新版后台设置默认给每位客户开发票,但是有一部分客户不需要发票,有赔付倒计时,能拒绝吗?

    A:可以拒绝,需要与买家协商一致,避免投诉。

3)Q:已经开票成功了,赔付倒计时列表还有申请,如何处理?

    A:只要开票成功了,就不会触发赔付。新的申请可能是订单发生了部分退款或者改抬头引发的,可以新开发票了录入,将原票冲红,或者拒绝申请

4)Q:受赔付约束的订单和不受赔付约束的订单有什么区别?

     A:受赔付约束的订单是主营类目商家店铺升级到新版后台后产生的订单开票申请,受新规则约束,超时未处理会触发赔付。不受赔付约束的订单就是升级之前的订单,不处理也不会触发赔付。但是如果消费者联系商家开票,还是需要开具,避免投诉。

5)Q:不受赔付约束的订单是否需要处理?

     A:可以不处理申请,若消费者主动联系,则需要给消费者一个满意的答复(协商不开票或者线下开票寄送,避免造成投诉),不需要在后台操作录入。

6)Q:有的订单没有开始赔付倒计时,是什么原因?

    A:只有确认收货的订单才会开始倒计时。

4. 如何录入发票

1)Q:发票如何录入?

     A:1. 在开票申请列表中点击同意;2. 在开票申请列表点击录入发票或者合并到其他订单开票 

2)Q:录入发票失败,提示发票已经存在

     A:请勿在不同的发票录入中重复录入同一个发票号码和发票代码,系统会校验发票号码已经存在。您可以使用您录入的发票号码和发票代码,在开票成功列表查询,即可查询到该号码和代码录入在哪个订单上。如果是多笔订单合并开票的,则无须录入,直接使用合并到其他订单开票即可

3)Q:纸质发票录入提示:请将信息填写完整

     A:这种情况一般是没有填写物流信息导致的,请下滑页面,填写物流信息

4)Q:发票类型是纸质发票,是否可以找个电子发票录入?

    A:可以,但是不能录入其他人的发票,录电票的话,会有这个买家获得别人电票去报销之类有风险。建议和买家协商,说明情况看是否同意录一张电票信息,并且要避免买家并没收到纸票投诉。

5)Q:发票录错了,将其他订单的发票号录入了,如何修改

    A:目前不知道修改录入的发票号码信息,可以将两张发票换着录入,不会校验,只要买家收到的发票正确即可

6)Q:录入其他人的发票是否可以?

    A:电子发票录入的话,会有这个买家获得别人电票去报销之类有风险。建议和买家协商,说明情况看是否同意录一张纸票信息,并且要避免买家并没收到纸票投诉。

7)Q:已经线下开具了发票,发票也已经发给消费者,开票申请需要拒绝吗?

     A:不需要拒绝。录入发票号码和代码即可

8)Q:每一张发票都要在后台录入物流信息吗?

    A:纸质发票需要录入物流信息,货票同行可填发货物流;门店发货或门店自提类,可选择无需物流。

9)Q:买家下单后联系客服索要发票,这种方式是否不需要录入发票信息、不涉及赔付?

     A:买家未通过线上申请入口提交的发票申请,商家无法在发票管理后台收到,无需录入。

10)Q:已开具电子发票,更换为纸质发票后,需要传物流信息吗?

    A:需要

5.合单开票问题

1)Q:合单开票操作流程

    A:第一步:多个申请,都同意,让开票申请进入待录入状态;第二步:选择其中一个订单作为主订单,将合并开具的发票录入进该申请中,使这个申请进入开票成功列表;第三步:在待录入列表,对需要合并的订单,选择合并订单开票,录入已经开票成功的订单号,选择提交即可。

2)Q:合单开票报错:

    A:该报错原因是因为录入发票时填写的订单号没有开票成功,请商家自行确认

3)Q:同一个用户多笔订单都申请了开票,订单开在一张发票上了,发票号码又不能重复录入,需要如何处理

    A:同意开票申请后,使用合单开票功能即可。也可以选择拒绝开票请求

6.开票规则相关问题

1)Q:买家端是否可以撤销开票请求

     A:目前不支持消费者端撤销申请

2)Q:已经退款成功了,运费的发票是否需要开具

     A:剩余运费不开票的,要和买家协商后拒绝

3)Q:拒绝开票理由选其他可以吗?其他理由选了无法点击拒绝

    A:出现这种情况,一般是没有上传相关凭证导致的。

4)Q:买家自身原因的退货,协商一致后买家愿意承担逆向运费,同意从货款中扣除但是天猫发票管理会再次对这部分款产生发票的申请,需要如何处理

    A:这部分钱款是由买家到商家账户了,从税务角度,买家是可以向商家申请这笔运费的票的。但如果你们不开具,可以拒绝。

5)Q:关于拒绝开票理由中已开具发票的相关说明

     A:如果拒绝理由选择已开具发票,则该笔订单必须存在于开票成功列表,否则不能选此项理由,其他拒绝理由需要提供相应的截图凭证和文字说明

6)Q:有价优惠券需要开票吗?

    A:优惠券可以使用合单开票功能,合并到商品订单上开具,无需单独开具

 7)Q:用户申请的纸质发票,可以修改为电子发票不?

     A:可以,直接点击开票申请的详情,选择修改即可。修改模块支持修改发票类型,抬头,收货地址,收件人联系方式等信息

8)Q:申请发票数量已经超出税局批准的发票量,这种情况怎么办?

     A:建议向税局申请增量,增量前如确实无法开出发票,请向买家说明情况后拒绝申请,并选择“与买家协商一致延迟开具”的原因。

9)Q:能否不开通买家自助申请发票的功能,由买家直接与我们联系索要发票?

    A:《天猫发票管理规范》规定的商家均需开通买家线上申请发票的入口,无法取消(规定的商家是指1、商家店铺主营类目为以下类目的店铺全部商品;2、商家店铺主营类目非以下类目但商家通过阿里发票平台自主开通“消费者在线发票申请业务”的店铺商品。 手机、大家电、个人护理/保健/按摩器材、厨房电器、生活电器、DIY电脑、MP3/MP4/iPod/录音笔、办公设备/耗材/相关服务、包装、笔记 本电脑、电脑硬件/显示器/电脑周边、电玩/配件/游戏/攻略、电子词典/电纸书/文化用品、电子元器件市场、品牌台机/品牌一体机/服务器、平板电脑 /MID、闪存卡/U盘/存储/移动硬盘、数码相机/单反相机/摄像机、网络设备/网络相关、影音电器、智能设备、3C数码配件、OTC药品/医疗器械 /隐形眼镜/计生用品、保健食品/膳食营养补充食品、传统滋补营养品、厨房/烹饪用具、床上用品、珠宝/钻石/翡翠/黄金。具体情形以实际展示的申请开票入口为准。)。其他商家可自行开通入口,但开通后需要按照该规范处理买家发票申请:https://rule.tmall.com/tdetail-8555.htm?spm=a2177.7731966.0.0.7bbec32fCczVKL&tag=self

 10)Q:商家是否必须使用阿里发票平台?

       A:不必须。阿里发票平台主要面向商家提供优质服务商的电子发票、纸质发票开具等产品,并提供与天猫、淘宝交易平台打通的发票申请自动处理工具。商家可通过阿里发票平台采购开票工具,也可以使用第三方开票工具。如使用第三方开票工具,需及时在天猫发票管理后台处理申请并录入已开好的发票。

 

7.开票失败了如何处理(使用官方工具的商家需要关注)

开票失败可重试

1)Q:常见报错描述:票号段不足,税盘无可用发票

    A:一般都是空白发票消耗完了导致开票失败,遇到这种情况有两种解决办法1. 去税局申请增量,分配发票之后点击重试即可开具成功;2. 若短期无法获取电票份额,订单还处于赔付倒计时中,则需要开具纸票后,将纸票信息录入进来。

2)Q:常见报错描述:税号欠费

     A:此报错原因在与所订购的税控单元服务到期,或者赠送的免费发票份额已用完,遇到这种报错,请用税号管理员账号登录阿里发票平台商家发票中心https://efapiao.taobao.com/ 在账单管理界面点击续费(若是已到期)或者订购套餐包

 

开票失败不可重试

Q:税控系统报错一览表

报错描述

解决办法

获取开票服务地址失败:税盘已到抄税期!

商家去完成抄报税之后重试,通过工单联系税控服务商处理 ,工单流程,先加入企业后,然后根据企业工作通知流程操作

企业加入方式

百望商家: http://tb.cn/Dxs8GIw 

航信商家:  http://tb.cn/BJn8GIw

超过离线开票时长

已到开票截止日期,禁止开票

离线正数累计金额超限

发票冲红失败,红票对应的蓝票已冲红!

蓝票已经冲红,无须再冲

 

超过单张开票金额限制

发票的金额超过了税盘允许的金额限制,需要手动拆成多张发票开具

已到开票截止日期,禁止开票

征期内没有进行抄报,需要做逾期抄报,操作问题请走通过工单联系税控服务商处理 ,工单流程,先加入企业后,然后根据企业工作通知流程操作

企业加入方式

百望商家: http://tb.cn/Dxs8GIw 

航信商家:  http://tb.cn/BJn8GIw

项目明细 商品编码长度必须为19位或21位

开票的税务编码位数不符合规范,需要按照国税表格完整填写,不足19位的,用0补齐

 

税控单元已到期,停止开票

税控单元服务到期失效,请到阿里发票平台后台,账单管理模块续费税控单元。 票量不足,请订购套餐包

税号已欠费,停止开票

092400:命令中的参数有错

正常情况下,重试即可。若持续不能处理,需要提供税号给对应的税控服务商排查。通过工单联系税控服务商处理 ,工单流程,先加入企业后,然后根据企业工作通知流程操作

企业加入方式

百望商家: http://tb.cn/Dxs8GIw 

航信商家:  http://tb.cn/BJn8GIw

请求税控系统失败-税控系统调用异常

获取开票服务地址失败:税盘已停用(下架)

9000:此核心板已被限制,不能开票,请与管理员联系!!!

09E1A1:通讯失败

购方电话地址不合法:最多x字节

买家信息提供错误,请检查后手动重开

购方信息不合法

项目明细,项目名最大长度为x位,当前长度xxx

商品开票名称超长缩减商品名称,手动重开

第x行商品信息不合法

商品名称超长,含有特殊字符或开票金额计算错误请检查商品名称,开票金额,税率等参数,手动重开

可开发票最大数量已满,请及时去税局完税

每个税控单元每个月可开票量有限制,当月开票数已达限制,新增税控单元  或者 去抄报税清卡

10144:根据商品编码未查到相关商品信息

 

商品税务编码传错了,没有识别到简称,需要选到类目的叶子节点最末级。例如:大类编码是谷物,子类节点为 小麦,稻谷,需要设置的就是小麦的编码

税额有误,误差大于6分钱,请确认

开票金额计算有误,注意小数点和税率是否正确。小数点可以保存到6位

金额计算规则  总价= 单价*数量

税额 = 总价*税率

价税合计=总价+税额

 

 

FAQ

关于此文档暂时还没有FAQ
返回
顶部