文档中心 > 智慧门店

智能POS商家回收流程

更新时间:2019/01/11 访问次数:8428

文档目的:

      帮助商家完成线下智能POS回收所需的步骤。回收分为主动回收与被动回收两种场景。以下流程以主动回收为例进行描述。

 

具体流程如下:

1、商家在PC上登录钉钉客户端,进入"新零售"工作台,选择"交易中心-智能POS-申请记录"(如无权限请先添加),选择"POS退回",主界面会列出之前已有的POS回收申请单。如下图:

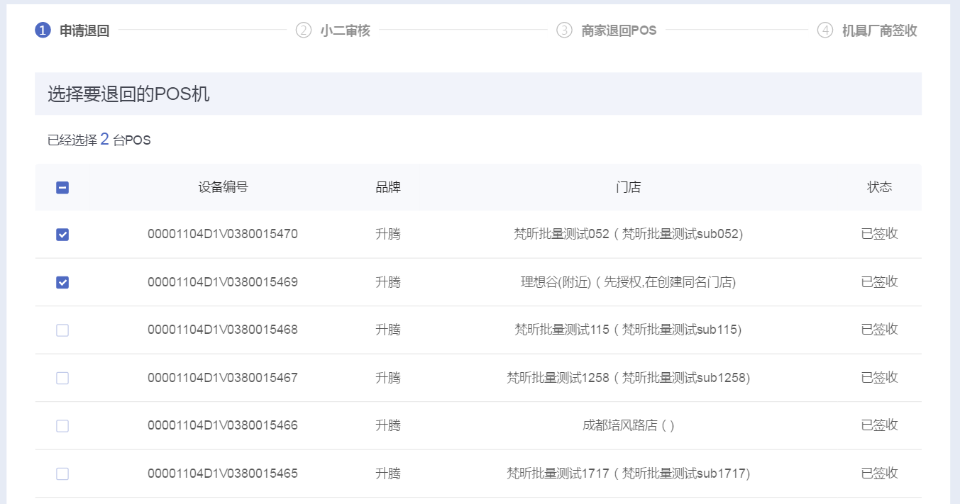
2、点击"退回设备",选择要退回的POS机,可直接对应门店和设备编号前打勾,当所有需要申请的门店信息选中后,点击"提交",提交后申请单需等待天猫小二审批

3、小二审批通过后,商家在回收列表中,查询到回收单状态变更为"审核通过待回收",点击"查看"按钮,显示出退回的详细地址。此处可点击"查看退回POS",查看本单退回的SN明细表,如无疑问,输入"物流单号",进行发货。

    请注意:商家必须待小二审批通过后再完成POS实物发货,且录入物流单号(如有多张单号,请录入其中一张即可)。同时,如商家直接退回实物机具,不在线录入回收单,会造成合作商无法验收实物,引起商家资损

4、 合作商收到商家寄回的POS机具后,会在线完成回收明细导入工作。请注意:由于合作商收到同张单据中的不同POS机具日期可能不一样,因此会存在分批导入的情况。商家可随时查看每张回收单机具的回收情况,每张申请单有部分POS机具回收后,会显示"部分回收";当所有POS机具全部回收后,会显示"全部回收"

完成以上步骤,回收完成

FAQ

关于此文档暂时还没有FAQ
返回
顶部