文档中心 > 开发接入

告警设置

更新时间:2016/01/18 访问次数:37008

接收人

进入监控,在左侧选择接收人,进入告警接收人管理界面。如下图示:

点击“添加接收人”进行告警接收人的添加,按照提示进行信息填写,保存后添加完成。如下图示:

:免费报警短信上限为每个接收人每天50条。

添加完成后可对接收人信息进行修改和删除,此外还可指定接收人是否接收告警

告警设置

AppEngine告警设置中可对应用的 CPU利用率、 硬盘利用率、内存使用率、 HTTP响应时间告警项进行开启和关闭。
告警开启后,系统每分钟检测告警项均值,如监控项均值超过系统告警阀值则发送告警通知。连续告警3次后进入10分钟疲劳期,疲劳期内触发告警不会发送告警通知,但告警情况会记录在告警日志中。10分钟疲劳期结束后,如监控项数值恢复正常则重新开始累计报警次数,如仍超过阀值,则继续告警一次并再次进入10分钟疲劳期,反复上述。


注:阀值和告警次数以及通知间隔可以自己设置

告警日志

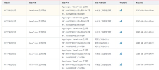
打开监控-》告警日志,可以根据需求选择告警对象告警项以及时间段。如下图所示:


详细说明:

  • 告警项: 本次告警的告警项,如:CPU利用率、 硬盘利用率、 HTTP响应时间
  • 告警对象:本次告警的AppEngine标题或数据库实例标题。
  • 告警内容:对告警情况做详细说明, 如:AppEngine “应用标题” HTTP响应时间达到800毫秒,当前报警阀值为500毫秒。
  • 告警发送记录:告警信息发送的情况,如:短信(发送成功)、未发送(告警疲劳期)、短信(条数超量或发送失败)。
  • 告警现场:通过趋势图展示告警项在触发告警时间段内的真实情况。
  • 发生时间:触发告警的时间。

FAQ

关于此文档暂时还没有FAQ
返回
顶部